LensTip.com

Articles

Everything you always wanted to know about the semi-transparent mirror technology (but were afraid to ask)

19 January 2015
Szymon Starczewski

3. A short analysis of patents

Patents are an excellent source of information and the germs of rumours. Sony have filed several of them, two being especially interesting. They concern an operation of a camera equipped with a semi-translucent mirror (US20100045853A1), the details of that mirror structure and a theoretical resolution change caused by different coatings (US20100277637A1).

Everything you always wanted to know about the semi-transparent mirror technology (but were afraid to ask) - A short analysis of patents
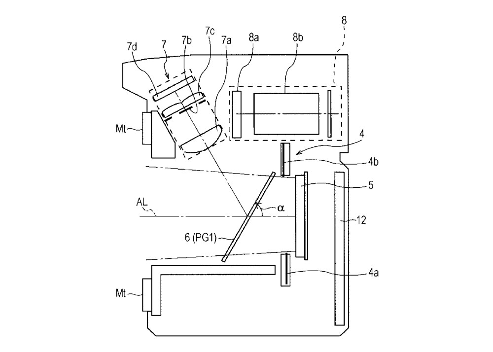
A camera diagram taken from the patent

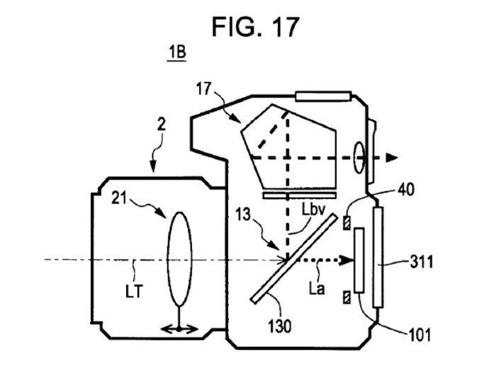
Above you can see a diagram of a camera equipped with a semi-translucent mirror which can be lifted like in classic reflex cameras. Its conception doesn’t differ much from cameras with a fixed mirror but it’s always better to patent all possible variations just in case. Display preview 8a, phase AF sensor 7, focal plane shutter 4, image sensor 5. No surprises. There is also a system featuring an ordinary optical viewfinder:

Everything you always wanted to know about the semi-transparent mirror technology (but were afraid to ask) - A short analysis of patents
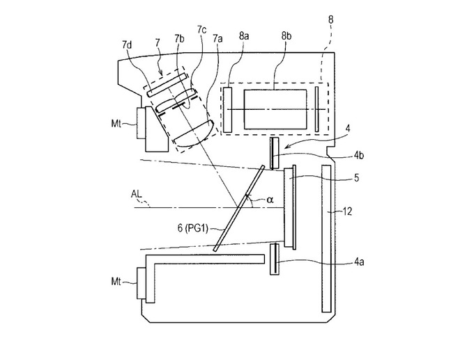
A camera’s diagram from the patent, second version

You can also find more interesting info concerning the mirror itself, the most advanced one being presented below. Most probably it is employed in cameras currently produced.

Please Support Us

If you enjoy our reviews and articles, and you want us to continue our work please, support our website by donating through PayPal. The funds are going to be used for paying our editorial team, renting servers, and equipping our testing studio; only that way we will be able to continue providing you interesting content for free.

- - - - - - - - - - - - - - - - - advertisement - - - - - - - - - - - - - - - - -

- - - - - - - - - - - - - - - - - - - - - - - - - - - - - - - - - - - - - - - - - - - - - - - -

Everything you always wanted to know about the semi-transparent mirror technology (but were afraid to ask) - A short analysis of patents
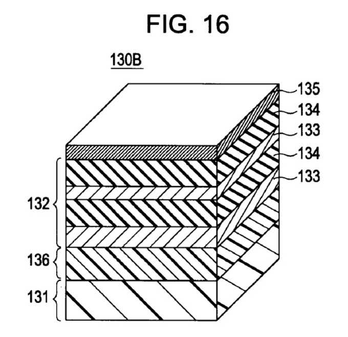
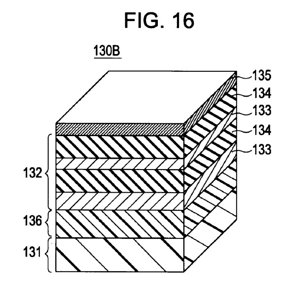
A mirror diagram taken from the patent

Its base is most probably made of cyclic olefin copolymer; the vapour deposited mirror consists of layers of quartz (SiO2) alternate with layers of niobium pentoxide (Nb2O5). The mirror is protected by a hard oxide layer and then fluorinated which increases the surface tension, acts as a hydrophobic and oleophobic coating and makes the cleaning of the mirror easier. It seems the engineers really applied themselves to their work. They even checked the influence of fluorination on vertical and horizontal resolution; a pity they didn’t provide any units.

Everything you always wanted to know about the semi-transparent mirror technology (but were afraid to ask) - A short analysis of patents
Declared influence of the surface coating on resolution